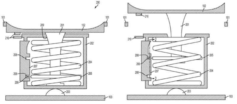
The United States Patent and Trademark Office (USPTO) published a new patent filed by Apple, showing a spring-loaded Home button for an iPhone, which would act as a joystick for playing games. When the Home button is in "button mode", it would act as it does today. But when sprung up into "joystick mode", the button would allow for 360 degree movement and as a D-pad.
Of course the patent has its flaws. Wear and tear would obviously be a problem. I could just see customers bringing in their iPhones to the Genius Bar because the joystick broke in two. Apple acquires tons of patents that never usually come into fruition. The company regularly likes to add to its portfolio of patents to stay safe away from patent trolls and for possibly future development.
